数据复盘|38股获主力加仓超亿元 北向资金抢筹顺丰控股、比亚迪等
5月19日,上证指数、深证成指、创业板指早盘低开低走,随后震荡回升,午后小幅回落,尾盘拉升翻红;科创50指数早盘冲高回落,随后拉升走强,午后进一步上扬。截止收盘,上证指数报3096.96点,涨0.36%,成交额3600.18亿元;深证成指报11250.06点,涨0.37%,成交额4466.88亿元;创业板指报2377.13点,涨0.5%,成交额1467.53亿元;科创50指数报1036.34点,涨2.2%,成交额354亿元。沪深两市合计成交8067.06亿元,成交额较上一交易日增加363.52亿元。
资金流向
1.主力资金
Wind统计显示,沪深两市主力资金今日净流出70.83亿元。其中,创业板主力资金净流出17.98亿元,沪深300成分股主力资金净流出12.04亿元,科创板主力资金净流出5.69亿元。
从行业板块来看,申万所属的28个一级行业,今日有5个行业板块主力资金呈现净流入,其中,电气设备行业板块主力资金净流入最多,净流入金额为28.92亿元;行业板块主力资金净流入居前的还有房地产、建筑装饰,净流入金额分别为13.7亿元、6.66亿元。23个行业板块主力资金呈现净流出,其中,食品饮料行业板块主力资金净流出最多,净流出金额为11.93亿元;行业板块主力资金净流出靠前的还有计算机、交通运输、医药生物、化工、传媒,净流出金额分别为10.52亿元、10.23亿元、8.91亿元、8.35亿元、7.47亿元。

个股来看,今日有1616只个股获主力资金净流入,其中,38股获主力资金净流入超1亿元。隆基绿能获主力资金净流入最多,净流入金额为6.2亿元;主力资金净流入居前的个股还有通威股份、天齐锂业、中国电建、农发种业、新华制药,净流入金额分别为6.11亿元、5.95亿元、4.62亿元、4.14亿元、3.84亿元。

此外,3028只个股被主力资金净卖出,其中,27股被主力资金净卖出超1亿元。主力资金净流出最多的个股是祁连山,净流出金额为5.38亿元;主力资金净流出居前的个股还有湖南发展、九安医疗、顺丰控股、宁德时代、牧原股份,净流出金额分别为4.7亿元、4.45亿元、4.3亿元、3.73亿元、2.79亿元。

2.北向资金
北向资金今日成交额为750.12亿元,成交净买入51.24亿元。其中,沪股通净买入27.39亿元,深股通净买入23.85亿元。
活跃个股方面,北向资金净买入较多的有顺丰控股、比亚迪、长江电力、中国建筑、通威股份,净买入金额分别为5.8亿元、2.43亿元、2.3亿元、1.81亿元、1.73亿元。北向资金净卖出较多的有阳光电源、贵州茅台、赣锋锂业、五粮液、伊利股份,净卖出金额分别为2.7亿元、2.48亿元、1.55亿元、1.14亿元、0.74亿元。

3.龙虎榜机构资金动向
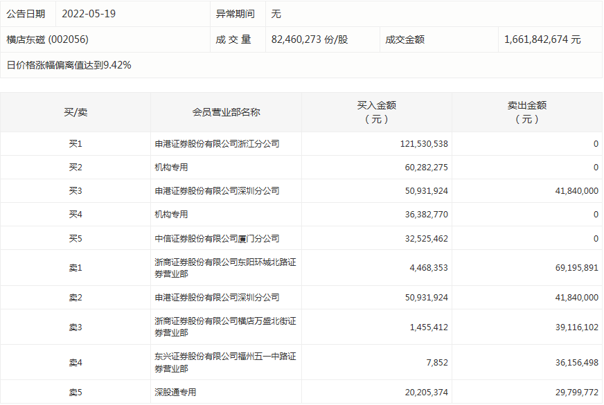
盘后龙虎榜数据显示,今日机构席位资金合计净卖出约1.77亿元。其中,净买入的个股9只,净卖出的个股8只。机构净买入最多的股票是横店东磁,净买入金额约9666.5万元;机构净买入居前的还有哈焊华通、京泉华等股。机构净卖出最多的股票是傲农生物,净卖出金额约1.69亿元。机构净卖出靠前的还有凤凰光学、福星股份等股。

涨跌停个股
截至收盘,沪深两市合计2725只个股上涨,1762只个股下跌,平盘个股177只,停牌的个股55只。不含当日上市新股,共有100只个股涨停,8只个股跌停。连续涨停天数看,索菱股份已连收7个涨停板,连续涨停板数量最多。
涨停股中,从收盘涨停板封单量来看,索通发展最受追捧,收盘涨停板封单有8935.08万股;其次是南国置业、龙洲股份,涨停板封单分别有4069.37万股、1886.72万股。以封单金额计算,索通发展、铭科精技、新华制药等涨停板封单资金较多,分别有20.66亿元、6.38亿元、2.06亿元。

从行业板块方面看,行业板块涨多跌少,其中,房地产、电气设备、建筑装饰、环保、电子、建筑材料、电力、教育等行业板块涨幅靠前。商业贸易、酿酒、农林牧渔、石油石化、保险等行业板块跌幅居前。涨停个股主要集中在房地产、电气设备、机械设备、建筑装饰、汽车、医药生物等行业。

横店东磁今天涨停。盘后数据显示,2个机构出现在龙虎榜单上,合计净买入9666.5万元;浙商证券股份有限公司东阳环城北路证券营业部买入446.84万元,同时卖出6919.59万元;东兴证券股份有限公司福州五一中路证券营业部买入0.79万元,同时卖出3615.65万元。




















