数据复盘|52股被主力减持超亿元 北向资金撤离中国中免、比亚迪等
5月23日,上证指数、深证成指、创业板指、科创50指数早盘震荡走低,午后止跌回升,上证指数、科创50指数尾盘翻红;深证成指、创业板指跌幅缩窄。截止收盘,上证指数报3146.86点,涨0.01%,成交额3811.79亿元;深证成指报11447.95点,跌0.06%,成交额4785.17亿元;创业板指报2410.12点,跌0.3%,成交额1489.54亿元;科创50指数报1046.15点,涨0.07%,成交额357亿元。沪深两市合计成交8596.96亿元,成交额较上一交易日减少609.7亿元。
资金流向
1.主力资金
Wind统计显示,沪深两市主力资金今日净流出138.06亿元。其中,创业板主力资金净流出20.7亿元,沪深300成分股主力资金净流出68.39亿元,科创板主力资金净流出3.43亿元。
从行业板块来看,申万所属的28个一级行业,今日仅有有色金属、钢铁、农林牧渔3个行业板块主力资金呈现净流入,净流入金额分别为9.22亿元、6.68亿元、6.11亿元。25个行业板块主力资金呈现净流出,其中,房地产行业板块主力资金净流出最多,净流出金额为20.96亿元;行业板块主力资金净流出靠前的还有食品饮料、医药生物、公用事业、电气设备、建筑装饰,净流出金额分别为17.71亿元、14.23亿元、13.71亿元、10.78亿元、10.68亿元。

个股来看,今日有1768只个股获主力资金净流入,其中,24股获主力资金净流入超1亿元。天齐锂业获主力资金净流入最多,净流入金额为8.13亿元;主力资金净流入居前的个股还有包钢股份、北方稀土、怡亚通、云天化、西藏矿业,净流入金额分别为6.74亿元、3.77亿元、2.63亿元、2.63亿元、2.51亿元。

此外,2882只个股被主力资金净卖出,其中,52股被主力资金净卖出超1亿元。主力资金净流出最多的个股是五粮液,净流出金额为6.69亿元;主力资金净流出居前的个股还有中国中免、美的集团、万科A、格力电器、贵州茅台,净流出金额分别为5.69亿元、5.6亿元、3.78亿元、3.68亿元、3.47亿元。

2.北向资金
北向资金今日成交额为769.46亿元,成交净卖出57.44亿元。其中,沪股通净卖出25.08亿元,深股通净卖出32.36亿元。
活跃个股方面,北向资金净买入较多的有中远海控、陕西煤业、顺丰控股、长江电力、招商银行,净买入金额分别为4.27亿元、1.9亿元、1.88亿元、1.65亿元、1.61亿元。北向资金净卖出的有中国中免、比亚迪、五粮液、赣锋锂业、韦尔股份,净卖出金额分别为4.2亿元、4.15亿元、3.62亿元、3.52亿元、2.44亿元。

3.龙虎榜机构资金动向
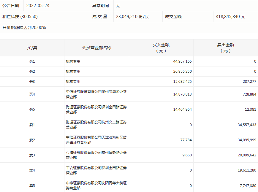
盘后龙虎榜数据显示,今日机构席位资金合计净卖出约1.28亿元。其中,净买入的个股11只,净卖出的个股10只。机构净买入最多的股票是和仁科技,净买入金额约8715.86万元;机构净买入居前的还有棕榈股份、比依股份、嵘泰股份等股。机构净卖出最多的股票是中直股份,净卖出金额约1.48亿元。机构净卖出靠前的还有索菱股份、怡亚通等股。

涨跌停个股
截至收盘,沪深两市合计3466只个股上涨,1090只个股下跌,平盘个股112只,停牌的个股53只。不含当日上市新股,共有115只个股涨停,15只个股跌停。连续涨停天数看,江苏华辰、铭科精技均已连收8个涨停板,连续涨停板数量最多。
涨停股中,从收盘涨停板封单量来看,包钢股份最受追捧,收盘涨停板封单有5558.72万股;其次是漳州发展、紫江企业,涨停板封单分别有3473.12万股、3009.69万股。以封单金额计算,江苏华辰、福达股份、阳光乳业等涨停板封单资金较多,分别有2.45亿元、2.28亿元、2.15亿元。

从行业板块方面看,行业板块涨多跌少,其中,钢铁、有色金属、农林牧渔、汽车、传媒、化工、教育等行业板块涨幅靠前。房地产、银行、保险、家电等行业板块跌幅居前。涨停个股主要集中在传媒、汽车、医药生物、化工、机械设备等行业。

和仁科技今天涨停。盘后数据显示,3个机构出现在龙虎榜单上,合计净买入8715.86万元;海通证券股份有限公司深圳金田路证券营业部买入1446.5万元,同时卖出1.24万元;中信证券股份有限公司天津滨海新区黄海路证券营业部买入7.78万元,同时卖出3409.6万元。




















