

检测完车辆外观,二手车平台检测人员准备为车辆拍照申请“上线”。
孙田(化名)没想到,通过瓜子二手车平台购买的“准新车”,差点发生事故。
去年6月,他驾车在广州南沙港快速路上行驶时,车子的时速由110公里瞬间降至60公里,油门完全失去反应。幸好,后方车辆急速刹车,才避免追尾事故。
回忆此事,孙田仍心有余悸。这辆花6.6万元购买的北汽绅宝汽车,平台标注显示,上牌8个月,里程数为9166公里。

二手车平台检测人员掀开引擎盖观察车辆内部情况。
刚买了半个月的车,就发生故障。孙田将车送到4s店检修,维修保养记录显示,该车实际行驶里程已超过5万公里。
“平台宣称经过259项全车检测,竟然连‘调表车’也测不出?”孙田将二手车平台和原车主告上法庭。
事实上,“调表车”通过检测,上线二手车平台,并非难事。
新京报记者近日调查发现,一些二手车平台宣称,对车辆进行超百项专业检测,但消费者在平台上,无法直接看到所有车况信息,一些平台甚至隐瞒车辆真实里程数。
15分钟完成上百项检测
5万公里改成9千公里,仍能通过上百项检测。二手车交易平台真的连“调表车”都发现不了吗?
在瓜子二手车官网首页上,“259项检测”的广告语格外引人注目。网站介绍,检测项目为原奥迪中国二手车业务总监领衔制定,评估师团队“考核上岗,经验丰富”。
人人车二手车平台也宣称“通过249项专业检测”,并明确标注“100%个人车源”、“双重检测无重大事故”、“一年两万公里质保”、“14天内可退车”。
近日,新京报记者以卖家身份,多次体验二手车平台的验车情况。

3月14日,二手车平台检测人员正在检测一辆“调表车”。
3月11日,顺义俸伯地铁站附近,人人车和瓜子二手车的检测人员分别对一辆大众途观车进行检测。
下午3时许,人人车的检测人员到达约定地点。了解完车辆基本信息后,对方从双肩背包中掏出手电筒,先后观察了车辆发动机舱、底盘、车身等设备情况。之后,检测人员掏出一台普通手机大小的膜厚测试仪,测试车身各个位置喷漆的厚度。
“是实表吗?”检测到里程表时,上述工作人员问道。得到肯定答复后,他记录下汽车里程表上显示的公里数。
约15分钟后,车况检测完毕。检测人员对车辆的各个角度拍照,并申请上线。
次日,车辆成功上线,平台对于车况检测的描述为:资深行业权威专家对此车前后两次专业检测,检测项目为249项。
11日下午4时许,瓜子二手车两位工作人员也对这辆途观车进行检测,所带的检测设备也为手电筒和膜厚测试仪。

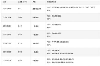
维修记录显示,被检测车辆里程数已达56365公里。
此前,其中一位检测人员表示,车辆检测包括里程表核实,“我们会查询车辆维修保养记录,来核实里程数。”但实地检测时,两人并未核验。
对于“调表车”情况,3月12日,承诺“158项检测”的优信二手车平台一名客服人员介绍,由于车辆是特殊商品,无法精准了解里程数。“根据平台服务规定,里程数不在我们的保障范围内,(里程)表上显示多少就是多少。”
一位在4S店专门从事汽车售后服务的资深人士介绍,大部分二手车平台检测水平还停留在比较粗放的状态,如凭经验判断外观、口头询问等手段。而多数车辆的里程数,仅需通过查询车架号或者调取4S店保养记录即可核实。
“调表车”当天上线交易平台
在多次体验调查中,新京报记者发现,二手车平台还存在检测出里程表异常也不标注的情况。
3月14日,记者又使用一辆索纳塔轿车预约了瓜子二手车检测。
检测人员先后检查了车辆外观、内饰、引擎盖内部、后备厢等部位,并使用膜厚测试仪测试车漆厚度。之后,对方将车辆行驶证上标注的车架号输入手机内一个软件,软件明确显示该车里程数异常。
事实上,这辆用于检测的索纳塔轿车确实为“调表车”——经查询该车的4S店维修记录,2015年11月29日时,该车的里程数就达到56365公里,但检测时,此车里程表上显示的里程数仅为17000公里。
检测人员表示,车辆里程数有改动,上线后会标明。此外,因车辆过户时间较短,只能上线瓜子旗下的车速拍平台。
意外的是,当晚车辆上线后,平台上显示的里程数为调试后的17000公里,且并未注明有改动或异常。
3月15日,车速拍工作人员致电,称有消费者出价想要购买,拍价为12.8万,如对此价格满意,可尽快安排买家看车。
即将进入交易流程的“调表车”会标注真实情况吗?对方介绍,该车里程数就是此前检测中里程表所显示的数字,平台上“没有做其他说明和标注”。
随后,记者又以买家身份致电客服,咨询该车车况。客服人员在查询车辆单号后也表示,评估结果显示,车辆里程没有调过。
而唯一有可能查到调表情况的4s店维修记录等详细车况服务,在平台上变成了付费查询。即买车人的竞拍价格达到车主的心理预期时,才能免费查看,否则需要先在平台至少充值1000元,再花费10元查询。“为何查看车辆信息还要额外花钱?”有消费者提到。
“改里程”占二手车纠纷一半比例
刚买了半个月的“准新车”险酿事故,孙田发现车辆里程调小了4万多公里。对车辆重新评估后,他认为该车的实际价值约5万元,要求平台退还1.6万元差额并为车辆做一次大保养。
与瓜子二手车售后进行交涉时,他被明确告知,平台不负责。“让我直接和原车主交涉,但对方根本不承认改里程一事”。
交涉无果后,去年7月,他向广东省消委会投诉。省消委工作人员与瓜子网取得联系,对方表示,可以确定原车主调了里程表,公司愿意承担相应责任,免去孙田购车手续费,并免费为车辆做一次保养(约三千元)。至于发动机异响和变速箱有故障,则双方约定到4S店检测,确认有问题后愿意承担相应责任。
据广东省消委会通报,对于退还多余购车款问题,瓜子二手车承认平台有一定过失,但主要责任在于原车主,愿意配合走法律途径。
孙田将原车主和瓜子二手车起诉到广州市越秀区人民法院。去年11月11日,法院出具的民事裁定书显示,瓜子二手车公司所在地为北京市丰台区人民法院管辖,因此,瓜子二手车提出管辖权异议,要求将本案移送北京,法院予以支持。
“在广州打官司已经耗费了太多精力和费用,再去北京打,维权成本太高了。”孙田介绍,已向广州市中级人民法院提起上诉,希望能在当地审理。“目前还没什么结果。”
实际上,随着二手车电商平台兴起与互联网购车增加,二手车交易也纠纷不断。北京市二中院通报,所售车辆存在更改里程表情况,占二手车涉质量争议的50%。此外,争议案件还涉及所售车辆为涉水车、重大事故车等情况。
“部分平台为促成交易或纵容作假”
“确实存在二手车平台为了促成交易而纵容作假的情况”。戈壁投资合伙人、出行市场资深投资人徐晨表示,这在线下也很普遍,比如改公里数,做“特殊安排”,本质上是为了促成交易。
其介绍,在二手车的交易模式中,平台的主要作用在于撮合交易,并不能完全掌握车主的“造假”行为,但与此同时,其也在一定程度上承担了评估师的角色。
徐晨分析,如果平台的利润来自交易本身,就有很强的动机去促成交易。“既像裁判又像运动员,这使得他们可能会有一些操纵和纵容行为。”
而里程数据对于交易是否达成有一些影响。徐晨说,比如同样是三年的车,开了5万公里和8万公里差别就很大,短期内跑了较多里程的可能是商用车,损坏率相对较高,车主可能养护得不那么“用心”,里程数较少的则可能是家用车,一般车况偏好。
此外,平台本身也没有太高的利润去做精细的检测,再加上买车人对于车性能不了解,盲目追求低价,也使得卖家和平台有很强的动机去修改或者隐瞒数据。
从投资人的视角来看,徐晨认为很多平台起到的作用并不是特别明晰,多数平台还是在做简单的信息交互。从长期来看,这进一步引导用户进入“价格领导型”的误区,将是一个恶性市场。
也就是说,平台更多地侧重宣传交易量,甚至做假来诱导消费者,并吸引投资人。“目前市场上确实存在交易量不真实的情况,有些平台水分高达20%-30%。”
徐晨说,长此以往,买家发现所购车辆并不理想,可能会对二手车平台的业务模式产生质疑,“那对于整个市场的伤害是很大的。”
中国汽车流通协会副秘书长罗磊认为,对于未检测准确的交易车辆,二手车平台要迅速响应,不能推诿责任。同时,如果有第三方专业机构介入交易,可能会优化市场。他建议二手车平台多使用第三方车辆背景信息查询系统,来查询车辆保养和维修记录,比如是否泡水,是否有过重大事故等。
车商称100元就能改里程
一方面,二手车平台“把关不严”,另一方面,修改里程表并非难事,且成本极低。“这也为不法车商和为抬高车价的车主,提供了可乘之机。”多位资深司机和业内人士表示,如果车辆一直在4S店做保养,会留有保养记录。但如果一直在私人修理厂保养,则很难有记录可供查询。
记者探访发现,线上、线下均有改里程服务,费用只需50元到300元。
3月7日,北京花乡二手车交易市场,一位车商透露,二手车里程表修改比较普遍,因此在收购车辆时,并不能简单把里程表显示指数作为参考,还需要对轮胎、方向盘、刹车片磨损程度等做综合判断。

维修记录显示,被检测车辆里程数已达56365公里,而车速拍平台上显示的里程数为调后的17000公里(图)。
其介绍,私人车主自己修改里程的较少,但部分二手车商为了抬高价格,会根据车辆情况进行修改。
对于隐藏有二手车贩子的平台,徐晨认为,部分小平台和黄牛车商之间可能达成了一些“默契”,平台为了加大交易量,只要没有重大事故,可能会适当放水,有些黄牛则会在交易达成后给平台“返利”。
上述车商介绍,修改里程不能任性而为,“理论上调成0公里也能实现,但这会引起消费者怀疑,一般私家车一年的里程数约为20000公里,只需要根据车辆使用年数在这一范围内适度修改即可。”其表示,修改服务价格为200元。
另一位在交易市场门口举着“收车”牌子的工作人员称,他们的修理厂也可以改里程,只需100元。
在线上,记者通过淘宝网搜索“里程表修改”,立即出现大量针对不同品牌可提供修改服务的商家,价格为50元到300元不等。
河北省张家口的一位商家号称,大众车、奥迪车都能改,2分钟完成,可以往前或往后修改,费用为100元1次。
其透露,改里程通过专业电子仪器插进OBD(ON BOARD DIAGNOSTICS车载自动诊断系统)接口实现,直接输入数值,“想改多少就改多少”。
“调里程或涉嫌违法犯罪”
“二手车调低里程表”几乎成了“公开秘密”。据了解,此行为不但可能导致买卖纠纷,同时极易引发违法犯罪。
《计量法》规定,破坏计量器具准确度和伪造数据,给国家和消费者造成损失的,可责令赔偿损失,没收计量器具和违法所得,并可处2000元以下罚款。相关部门将加强对此类不法行为的打击力度,构成犯罪的,一旦发现,严厉打击。
“二手车交易平台的作用是为卖家发布信息,并促成买卖双方达成协议。”北京二中院法官提到,平台在提供居间服务时,需向买家如实提供准确车况和全面履行检验义务,如存在没有如实披露或存在故意隐瞒,买卖双方一旦发生纠纷提起诉讼,平台可能会被判承担一定责任。
中闻律师事务所池芬芳律师表示,《消费者权益保护法》第四十四条第二款规定:网络交易平台提供者明知或者应知销售者利用其平台侵害消费者合法权益,未采取必要措施的,依法与该销售者或服务者承担连带责任。
北京才良律师事务所王才亮律师提到,二手车平台上线虚假里程车的行为,涉嫌与卖家共谋欺诈,需承担民事上的连带责任,消费者有权要求撤销合同,并要求由平台和卖方共同赔偿其经济损失;此外,消费者可以向市场监管部门要求追究平台的行政责任,对此类行为进行查处并进行罚款。(记者 赵凯迪 卢通 王鹏 李禹潼 黄锐毅)
中证网声明:凡本网注明“来源:中国证券报·中证网”的所有作品,版权均属于中国证券报、中证网。中国证券报·中证网与作品作者联合声明,任何组织未经中国证券报、中证网以及作者书面授权不得转载、摘编或利用其它方式使用上述作品。凡本网注明来源非中国证券报·中证网的作品,均转载自其它媒体,转载目的在于更好服务读者、传递信息之需,并不代表本网赞同其观点,本网亦不对其真实性负责,持异议者应与原出处单位主张权利。
特别链接:中国证券监督管理委员会上海证券交易所深圳证券交易所新华网政府部门交易机构证券期货四所两司新闻发布平台友情链接版权声明
关于报社关于本站广告发布免责条款
中国证券报社版权所有,未经书面授权不得复制或建立镜像 经营许可证编号:京B2-20180749 京公网安备110102000060-1
Copyright 2001-2018 China Securities Journal. All Rights Reserved
中国证券报社版权所有,未经书面授权不得复制或建立镜像
经营许可证编号:京B2-20180749 京公网安备110102000060-1
Copyright 2001-2018 China Securities Journal. All Rights Reserved



